High Mounted Stop Lamp for 2001 Mazda Millenia
Vehicle
2001 Mazda Millenia
Change Vehicle
- Bumper & Components - Front
- Bumper & Components - Rear
- Center Console
- Center Pillar
- Cluster & Switches
- Cowl
- Door
- Door & Components
- Exterior Trim - Fender
- Exterior Trim - Front Door
- Exterior Trim - Pillars
- Exterior Trim - Rear Door
- Exterior Trim - Roof
- Exterior Trim - Trunk
- Fender & Components
- Floor & Rails
- Front Door
- Front Seat Components
- Glass - Front Door
- Glass - Rear Door
- Glass - Windshield
- Glass & Hardware - Back
- Glove Box
- Grille & Components
- Hinge Pillar
- Hood & Components
- Inner Structure
- Instrument Panel
- Instrument Panel Components
- Interior Trim - Front Door
- Interior Trim - Pillars
- Interior Trim - Quarter Panels
- Interior Trim - Rear Body
- Interior Trim - Rear Door
- Interior Trim - Roof
- Interior Trim - Trunk
- Labels
- Lid & Components
- Lock & Hardware
- Master Cylinder - Components On Dash Panel
- Outside Mirrors
- Overhead Console
- Quarter Panel & Components
- Radiator Support
- Rear Body
- Rear Door
- Rear Floor & Rails
- Rear Seat Components
- Reveal Moldings
- Rocker Panel
- Roof & Components
- Seat Belt
- Sound System
- Structural Components & Rails
- Sunroof
- Trunk
- Wiper & Washer Components
- ABS Components
- Air Bag Components
- Alternator
- Antenna & Radio
- Battery
- Bulbs - Chassis
- Cruise Control System
- Distributor
- Door
- Electrical Components
- Flashers
- Fog Lamps
- Front Door
- Front Seat Belts
- Fuel Door
- Glass, Windows & Related Components
- Headlamp Components
- Heated Seats
- High Mounted Stop Lamp
- Horn
- Ignition Lock
- Ignition System
- Instruments & Gauges
- Keyless Entry Components
- License Lamps
- Mirrors
- Powertrain Control
- Rear Door
- Rear Seat Belts
- Senders
- Sensors
- Starter
- Sunroof
- Switches
- Tail Lamps
- Window Defroster
- Wipers
- Bumper & Components - Front
- Bumper & Components - Rear
- Center Console
- Center Pillar
- Cluster & Switches
- Cowl
- Door
- Door & Components
- Exterior Trim - Fender
- Exterior Trim - Front Door
- Exterior Trim - Pillars
- Exterior Trim - Rear Door
- Exterior Trim - Roof
- Exterior Trim - Trunk
- Fender & Components
- Floor & Rails
- Front Door
- Front Seat Components
- Glass - Front Door
- Glass - Rear Door
- Glass - Windshield
- Glass & Hardware - Back
- Glove Box
- Grille & Components
- Hinge Pillar
- Hood & Components
- Inner Structure
- Instrument Panel
- Instrument Panel Components
- Interior Trim - Front Door
- Interior Trim - Pillars
- Interior Trim - Quarter Panels
- Interior Trim - Rear Body
- Interior Trim - Rear Door
- Interior Trim - Roof
- Interior Trim - Trunk
- Labels
- Lid & Components
- Lock & Hardware
- Master Cylinder - Components On Dash Panel
- Outside Mirrors
- Overhead Console
- Quarter Panel & Components
- Radiator Support
- Rear Body
- Rear Door
- Rear Floor & Rails
- Rear Seat Components
- Reveal Moldings
- Rocker Panel
- Roof & Components
- Seat Belt
- Sound System
- Structural Components & Rails
- Sunroof
- Trunk
- Wiper & Washer Components
- ABS Components
- Air Bag Components
- Alternator
- Antenna & Radio
- Battery
- Bulbs - Chassis
- Cruise Control System
- Distributor
- Door
- Electrical Components
- Flashers
- Fog Lamps
- Front Door
- Front Seat Belts
- Fuel Door
- Glass, Windows & Related Components
- Headlamp Components
- Heated Seats
- High Mounted Stop Lamp
- Horn
- Ignition Lock
- Ignition System
- Instruments & Gauges
- Keyless Entry Components
- License Lamps
- Mirrors
- Powertrain Control
- Rear Door
- Rear Seat Belts
- Senders
- Sensors
- Starter
- Sunroof
- Switches
- Tail Lamps
- Window Defroster
- Wipers
Browse Categories
Select category
- Bumper & Components - Front
- Bumper & Components - Rear
- Center Console
- Center Pillar
- Cluster & Switches
- Cowl
- Door
- Door & Components
- Exterior Trim - Fender
- Exterior Trim - Front Door
- Exterior Trim - Pillars
- Exterior Trim - Rear Door
- Exterior Trim - Roof
- Exterior Trim - Trunk
- Fender & Components
- Floor & Rails
- Front Door
- Front Seat Components
- Glass - Front Door
- Glass - Rear Door
- Glass - Windshield
- Glass & Hardware - Back
- Glove Box
- Grille & Components
- Hinge Pillar
- Hood & Components
- Inner Structure
- Instrument Panel
- Instrument Panel Components
- Interior Trim - Front Door
- Interior Trim - Pillars
- Interior Trim - Quarter Panels
- Interior Trim - Rear Body
- Interior Trim - Rear Door
- Interior Trim - Roof
- Interior Trim - Trunk
- Labels
- Lid & Components
- Lock & Hardware
- Master Cylinder - Components On Dash Panel
- Outside Mirrors
- Overhead Console
- Quarter Panel & Components
- Radiator Support
- Rear Body
- Rear Door
- Rear Floor & Rails
- Rear Seat Components
- Reveal Moldings
- Rocker Panel
- Roof & Components
- Seat Belt
- Sound System
- Structural Components & Rails
- Sunroof
- Trunk
- Wiper & Washer Components
- ABS Components
- Air Bag Components
- Alternator
- Antenna & Radio
- Battery
- Bulbs - Chassis
- Cruise Control System
- Distributor
- Door
- Electrical Components
- Flashers
- Fog Lamps
- Front Door
- Front Seat Belts
- Fuel Door
- Glass, Windows & Related Components
- Headlamp Components
- Heated Seats
- High Mounted Stop Lamp
- Horn
- Ignition Lock
- Ignition System
- Instruments & Gauges
- Keyless Entry Components
- License Lamps
- Mirrors
- Powertrain Control
- Rear Door
- Rear Seat Belts
- Senders
- Sensors
- Starter
- Sunroof
- Switches
- Tail Lamps
- Window Defroster
- Wipers
- Bumper & Components - Front
- Bumper & Components - Rear
- Center Console
- Center Pillar
- Cluster & Switches
- Cowl
- Door
- Door & Components
- Exterior Trim - Fender
- Exterior Trim - Front Door
- Exterior Trim - Pillars
- Exterior Trim - Rear Door
- Exterior Trim - Roof
- Exterior Trim - Trunk
- Fender & Components
- Floor & Rails
- Front Door
- Front Seat Components
- Glass - Front Door
- Glass - Rear Door
- Glass - Windshield
- Glass & Hardware - Back
- Glove Box
- Grille & Components
- Hinge Pillar
- Hood & Components
- Inner Structure
- Instrument Panel
- Instrument Panel Components
- Interior Trim - Front Door
- Interior Trim - Pillars
- Interior Trim - Quarter Panels
- Interior Trim - Rear Body
- Interior Trim - Rear Door
- Interior Trim - Roof
- Interior Trim - Trunk
- Labels
- Lid & Components
- Lock & Hardware
- Master Cylinder - Components On Dash Panel
- Outside Mirrors
- Overhead Console
- Quarter Panel & Components
- Radiator Support
- Rear Body
- Rear Door
- Rear Floor & Rails
- Rear Seat Components
- Reveal Moldings
- Rocker Panel
- Roof & Components
- Seat Belt
- Sound System
- Structural Components & Rails
- Sunroof
- Trunk
- Wiper & Washer Components
- ABS Components
- Air Bag Components
- Alternator
- Antenna & Radio
- Battery
- Bulbs - Chassis
- Cruise Control System
- Distributor
- Door
- Electrical Components
- Flashers
- Fog Lamps
- Front Door
- Front Seat Belts
- Fuel Door
- Glass, Windows & Related Components
- Headlamp Components
- Heated Seats
- High Mounted Stop Lamp
- Horn
- Ignition Lock
- Ignition System
- Instruments & Gauges
- Keyless Entry Components
- License Lamps
- Mirrors
- Powertrain Control
- Rear Door
- Rear Seat Belts
- Senders
- Sensors
- Starter
- Sunroof
- Switches
- Tail Lamps
- Window Defroster
- Wipers
No.
Part # / Description / Price
Price
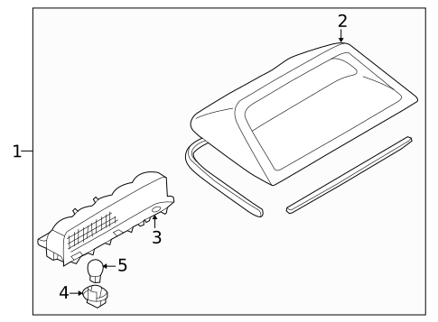
1
MSRP $291.71
$201.24
2
Lamp Cover
Mazda
Mazda Notes: PARTS: Part is included in high mount lamp assembly.
Description: 2001-02, gray.
2
Lamp Cover
Mazda
Mazda Notes: PARTS: Part is included in high mount lamp assembly.
Description: 2001-02, beige.
3
Mount Bracket
Mazda
Mazda Notes: PARTS: Part is included in high mount lamp assembly.
Description: 2001-02.
4
5
License Plate Light Bulb
Mazda
Mazda Notes: PARTS: Part is included in high mount lamp assembly.
Description: Mazda's 194 style license plate illumination bulb
Not For Sale
Not For Sale